Здравейте! Пускам тази тема, защото след дни преглеждане на форума и сайтове в Интернет главата ме заболя. Искаме да изберем подходящите радиатори за новия ни дом. Разбира се, ще потърсим и мнение от специалист, но бих искал да отида на консултацията подготвен и да имам идея за какво си говорим.
Спрели сме се на панелни радиатори.
- Какво е вашето мнение относно тези радиатори?
- Можете ли да ми препоръчате добри магазини в София, където мога да разгледам, да се консултирам и, ако условията са добри, да закупя радиатори?
Какви размери и типове радиатори би било най-добре да избера. - Направих някои изчисления и събрах, колкото се може повече информация. Ще се радвам на всякакви ваши съвети, мнения и насоки.
Имот
Сграда - Строителство: ново строителство
- Енергиен клас: B
- Енергиен индекс: 118,86 kWh/кв.м.
Отопление - Централно отопление: ТЕЦ (София).
- Предполагаем стандарт (делта): ΔT50 (75/65/20)
Бележки - Разположение на тръбите: едната тръба е долу, другата горе (т.е. диагонална/горе-долу връзка).
- Преправяне: от всичко прочетено във форума и Интернет ми се иска да запазим разположението на тръбите, тъй като има достатъчно стандартни модели радиатори, които пасват. Освен това няма да има нужда от разбиване и преправяне, което ще оскъпи допълнително целия ремонт.
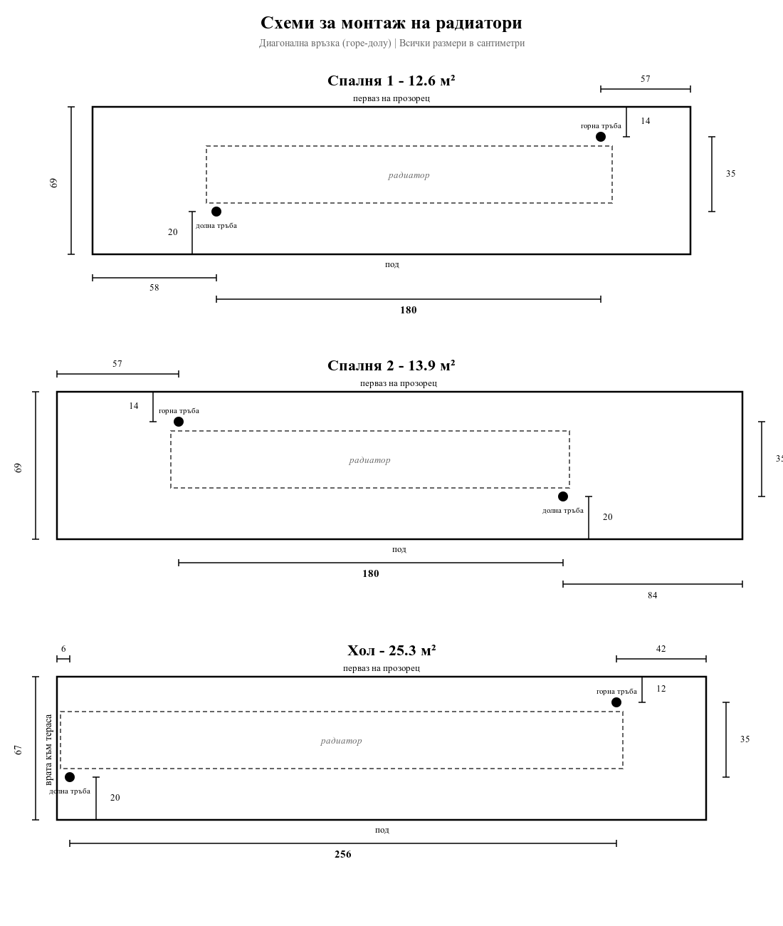
Схеми
Спални
Детайли - Площ: 12.6 м² и 13.9 м²
- Височина: 2.60 м
Изчисления - Обем = площ × височина = 32.76 m³ / 36.14 м³.
- Нормално ново строителство/енергиен клас B: ~20–22 W/m³
- Изчислена нужда: ~655-721 W / ~723–795 W
- Търсен резерв: 10–15%, т.е. целева мощност: около 757–792 W / 842–880 W (при ΔT50 = 75/65/20)
Избор - 400 × 1800, Тип 11, 1274 W (топлинна мощност): спокойно има резерв да се отопляват и баните към тези стаи
- 500 × 1600, Тип 11, 1373 W (топлинна мощност): имам притеснение, че ще трябва преправяне на тръбите, заради дължината на радиатора от 1.60 м
- 500 × 1800, Тип 11, 1544 W (топлинна мощност): според мен ще е твърде мощен за тази стая
Линк - https://www.korado.bg/radik-klasik?h_from=400&h_to=500&power_to= … om=1600&w_to=1800
Хол
Детайли:
- Площ: 25.3 м²
- Височина: 2.60 м
Изчисления - Обем = площ × височина = 65.78 m³
- Нормално ново строителство/енергиен клас B: ~20–22 W/m³
- Изчислена нужда: ~1315-1447 W
- Търсен резерв: 10–15%, т.е. целева мощност: около 1520-1589 W (при ΔT50 = 75/65/20)
Избор - 500 × 2300, Тип 11, 1973 W (топлинна мощност): имам притеснение, че ще трябва преправяне на тръбите, заради дължината на радиатора от 2.56 м
- 500 × 2600, Тип 11, 2231 W (топлинна мощност): изглежда напълно подходящ
- 500 × 2300, Тип 20, 1927 W (топлинна мощност): имам притеснение, че ще трябва преправяне на тръбите, заради дължината на радиатора от 2.56 м
- 500 × 2600, Тип 20, 2179 W (топлинна мощност): изглежда напълно подходящ
Линк - https://www.korado.bg/radik-klasik?h_from=400&h_to=500&power_to= … om=2300&w_to=2600
Ще съм безкрайно благодарен на всякакви съвети и коментари.
С пожелание за невероятна вечер и страхотен нов ден!
Наистина много полезна информация. Със сигурност ще гледам е да по-мощен радиаторът, тъй като си напълно прав - винаги може да е намален, ама не можеш да го увеличиш повече от максимума му.
