Всякакви въпроси за пералнята - тема 19

  • 30 546
  • 733
  •   1
Отговори
# 135
  • Мнения: 422
Предполагам, че не са махнати транспортните болтове. Ако това е така, то трябва да се види в упътването. Там пише. Нещо такова е.

# 136
  • Велики Преслав
  • Мнения: 5 278
То не е за подигравка, малко е тъжно за пералнята, аз на 90% съм сигурен, чу все нещо се е увредило в нея от такова шокиращо обръщане по гръб, да не говорим, че тресенето е продължило дори когато се е обърнала. То всъщност май на 100% и има нещо.

# 137
  • Мнения: 746
Предполагам, че не са махнати транспортните болтове. Ако това е така, то трябва да се види в упътването. Там пише. Нещо такова е.


Благодаря безкрайно!
Отвих ги,сложих капачетата и вече си работи.
  А според вас какво може да се е увредило😞В смисъл,че едва ли съм способна да преценя.Тя работи,но сигурно сте прав и има някакви увреждания.

# 138
  • Мнения: 961
[



Да, точно този е на Бош, поръчах от Амазон, нали не е проблем това, ме е от Амазон?!
Купувате ли от Амазон препарати?
Взех и К2R от ДМ.
Ще пробвам до каро дойде, той препарата не е на Бош, а на някаква немска марка, която уж ги прави за Бош, Сименс, Гагенау и т. Н. От групата на Бош,
Така, че сигурно не е нещо по-различно, но прибързах и го поръчах, да по-скъп е, но дано е ОК, до сега не съм купувала от Амазон , та дори и от емаг и малко се притеснявам за качеството и дали е истински.

quote author=petiaivanov link=topic=1689994.msg48569580#msg48569580 date=1726725360]
Здравейте,
От къде да купя препарат Бош за почистване на барабан?
Не знам Бош какъв препарат имат, но защо искаш него? AEG/Electrolux имат, но не е нищо особено.
Има много добри прахообразни препарати, като този на k2R.

Аз съм ползвала немския на Хетман и един на ДМ за предишната, но не съм очарована и сега ми изписа, че трябва почистване на барабана и видях какъв е препарата, за това попитах.
Видях, че е наличен в немския амазон, но от там не съм пазарувала и за това попитах дали от България мога да си го взема или само онлайн.
Би ли дала линк към препарата в немския Амазон? Искам да го видя какво представлява. Знам, че BSH (Бош) имат препарат за профилактика на сушилни.
Ако имаш предвид това, то не е по-различно от k2R, само дето е доста по-скъпо и е в пластмасови кутиики, а не в пакетче:
https://www.bosch-home.co.uk/en/product/cleaning-and-care/cleani … machines/00311928
Само искам да ти кажа, че всички течни почистващи препарати не стават за сериозно почистване, а  за текуща поддръжка. Два пъти годишно пералнята трябва да се чисти със сериозен препарат.
Течните само лъскат барабана от видимата му част, а казана и барабана откъм невимата му част са си мръсни. За маркучите да не говорим.
Ако имаш предвид това, то не е по-различно от k2R, само дето е доста по-скъпо и е в пластмасови кутиики, а не в пакетче:
https://www.bosch-home.co.uk/en/product/cleaning-and-care/cleani … machines/00311928
[/quote]

# 139
  • Велики Преслав
  • Мнения: 5 278
Предполагам, че не са махнати транспортните болтове. Ако това е така, то трябва да се види в упътването. Там пише. Нещо такова е.


Благодаря безкрайно!
Отвих ги,сложих капачетата и вече си работи.
  А според вас какво може да се е увредило😞В смисъл,че едва ли съм способна да преценя.Тя работи,но сигурно сте прав и има някакви увреждания.

Щом работи, то ако има нещо ще е несериозно. Иначе съм виждал отчупени парчето от казана при забравени болтове. Ще разберете като извъртите 2-3 перални дали нещо се е случило.

# 140
  • На брега на реката
  • Мнения: 8 842
Ми то не е смешно и извинявайте, ама много се ядосвам така. Извадили една шапка пари, без значение колко и не намерили 10 минутки да си прочетат упътванията!
Дано всичко е наред с машината и да ви служи дълго, но занапред е желателно да се запознаете с уреда, преди първа употреба.

# 141
  • UK
  • Мнения: 3 362
Аз да кажа за моята АЕГ Лавамат, от както увеличих на 90 мл настройките на перилния препарат, осезаемо намалява течността в отделението. Благодаря на всички!

# 142
  • Мнения: 746
Предполагам, че не са махнати транспортните болтове. Ако това е така, то трябва да се види в упътването. Там пише. Нещо такова е.


Благодаря безкрайно!
Отвих ги,сложих капачетата и вече си работи.
  А според вас какво може да се е увредило😞В смисъл,че едва ли съм способна да преценя.Тя работи,но сигурно сте прав и има някакви увреждания.

Щом работи, то ако има нещо ще е несериозно. Иначе съм виждал отчупени парчето от казана при забравени болтове. Ще разберете като извъртите 2-3 перални дали нещо се е случило.
Да,работи засега отлично.Вече изпра 5-7 перални.Благодаря ви много за съветите.
  ❤❤❤
Иначе Буболина не знам защо се ядосвате:)Човек се учи цял живот и елемантарните за някой неща са нещо ново за друг.Направихме глупост и ще ни е за урок.
Хубава неделя на всички🌸

# 143
  • до най-прекрасния мъж
  • Мнения: 12 570
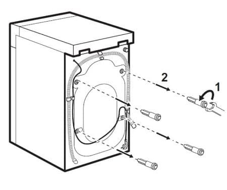
Това с транспортните болтове и ние за малко да го свършим. Прибрахме се късно, след като обикаляхме по нощите да търсим склада на известна верига за техника в покрайнините на града. После да я качим, да си приберем хлапето, че тогава беше малко и нямаше как да е с нас, докато я качваме. И стана време аз да приспивам хлапето. А ММ бързак, ще я разопакова и намества. То хубаво, ама на сутринта аз забелязвам два РАЗЛИЧНИ транспортни болта, оставени на масата в хола. То по логика няма как да са само два, а и различни, най-малкото защото са поне два, разположени симетрично от двете страни на пералнята. И веднага ми светва, че моето мило човече, не е свалил поне един от болтовете. Добре, че чета поне по диагонал упътванията и се усетих, че има нещо нередно.
Та, четете ги тези упътвания, интересни неща пише в тях. Особено ако купувате и инсталирате за първи път уред.

# 144
  • Мнения: 1 303
Аз да кажа за моята АЕГ Лавамат, от както увеличих на 90 мл настройките на перилния препарат, осезаемо намалява течността в отделението. Благодаря на всички!

Да на 90-100 мл работи най-оптимално като е нагласена.
Реално може би дърпа 60-70 мл при непълно зареждане, което е идеално.

# 145
  • Мнения: 187
Аз съм се отчаяла вече и искам да попитам за идеи. Имаме Миеле с туин доза струва една торба пари и ми съсипа дрехите. Цветовете изчезнаха, по пухкави блузи станаха на топчета, а ако има някъде бляскави камъчета са свалени и то на дрехи прани сто пъти преди това без проблеми. Преди тази паралня ползвах АЕГ, но на 30 години поне и се скъса уплътнението и още съжалявам, че вложихме тези пари в този б....к. Като превенция вече смених програмата на деликатна, намалях обороти, намалях температура, препарата също съм сменяла в началото си перях с течен какъвто си имах да си го доизразодвам и след като свърши си сложих неговия препарат Туин доз, проблема с избледняването си беше и с двата препарата. Вече като купя нова тениска особено ако има апликация ги пера на ръка, черното ни вече е сиво, а и прано години преди това без проблем. Пералнята те пита дали переш бяло или цветно и винаги слагам цветно. А да, слагах и по по малко пране, не би да се трият твърде много ако е натъпкана. Ох, други идеи преди да се опитам да я продам и да взема друга марка.

# 146
  • Мнения: 2 785
От два месеца съм с Миле с ТуинДос, а преди това — 5 години с друго Миле.
Нямам изброените от вас проблеми. Почти винаги ползвам центрофуга на 1600 оборота, а на старата — 1400, че това ѝ беше максимума.
Пера с препаратите на Миле за фаза 1 и 2. Никакво избеляване не ми се е случило, дори цветните дрехи станаха с по-наситени цветове. Купила съм и прахообразния на Миле за бяло пране, от който също съм много доволна.

Изключително съм доволна, че замених старото си Миле с ново.

# 147
  • Мнения: 1 303
На мен също са ми изсветлявали доста дрехи, но го отдавам на самите дрехи.

# 148
  • Мнения: 97
С препарат да черно пране ли перете тъмните дрехи? Ако е така не би трябвало да ви избледняват с каквато и пералня да сте.

# 149
  • На брега на реката
  • Мнения: 8 842
Аз съм писала и преди, че с Ултрафазите, имаше леко избледняване на цветовете и затова си закупих 2 празни контейнера, в които съм сложила от течния им прачепарат за цветно и омекотител. От настройките си ги нагласих и вече пера само така. Препаратите са хубави и няма избледняване. Както е писала и Джорджа, бялото пера само с техния прахообразен и съм безкрайно доволна!
Опитайте така ако искате, но обръщайте цветните дрехи наопаки, за да се избегнат повреди от механичното триене.

Последна редакция: чт, 26 сеп 2024, 09:11 от Бубoлина

Общи условия

Активация на акаунт